Thermische afstandsmontage

fischer Artikelnummer: 51292 THERMAX 16/170 M12 (SET VAN 2 STUKS)

€81,08 €67,01 excl. BTW

Op bestelling

Dit product kan enkel op bestelling gekocht worden per 5 eenheden.

Aantal moet veelvoud van 5 zijn.

  • 14 dagen bedenktijd
  • Gratis verzending vanaf 149 euro
  • 2 échte winkels met serviceafdeling

Stel een vraag over dit product

Contacteer ons

Productomschrijving

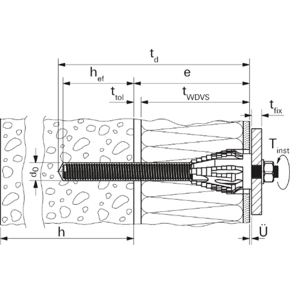
Het fischer Afstandsmontagesysteem TherMax is een oplossing voor een bevestiging in de buitenmuur of warmtebrug in de WDVS. Het systeem bestaat uit een speciale draadstang van gegalvaniseerd staal met een glasvezelversterkte conus, tapeinden en injectiehulzen voor de bevestiging in geperforeerde baksteen. In combinatie met de fischer Krachtige mortel FIS EM Plus, FIS V, FIS SB en de FIS GREEN is het systeem goedgekeurd voor talrijke bouwmaterialen. De draadstang met de glasvezelversterkte conus freest zich automatisch door de pleister in het isolatiemateriaal. De draadstang wordt in de injectiehuls met een injectiemortel in het bouwmateriaal verankerd. De conus op de kop van de draadstang onderbreekt de warmtebrug en neemt het tapeind van roestvast staal voor de buitenste bevestiging op. De TherMax bevestigt zware lasten zoals zonweringen, bewakingsmaatregel en satellietinstallaties in beton, cellenbeton en metselwerk van volle en geperforeerde baksteen.


Productinformatie

  • Merk

    fischer

  • Artikelnummer

    51292

  • EAN

    4006209512920


Specificaties

  • Pluglengte

    375 mm

  • Vds-approval

    Ja

  • Content

    2

Varianten

  •  Voor 12.00 uur besteld, vandaag verzonden*
  • 2 échte winkels
  • Collega's met productkennis
  • Service na verkoop