Vensterbankdrager

DX Artikelnummer: 0511.200.6814 VENSTERBANKDRAGER / DRAAGVLAK 140 MM / STAAL WIT GEPOXEERD

€5,49 €4,54 excl. BTW

Op bestelling

Dit product kan enkel op bestelling gekocht worden per 12 eenheden.

Aantal moet veelvoud van 12 zijn.

  • 14 dagen bedenktijd
  • Gratis verzending vanaf 149 euro
  • 2 échte winkels met serviceafdeling

Stel een vraag over dit product

Contacteer ons

Productomschrijving


Productinformatie

  • Merk

    DX

  • Artikelnummer

    0511.200.6814

  • EAN

    8714140128013


Specificaties

  • Draagkracht per 2

    33 kg

  • Materiaal

    staal

  • Uitvoering

    licht

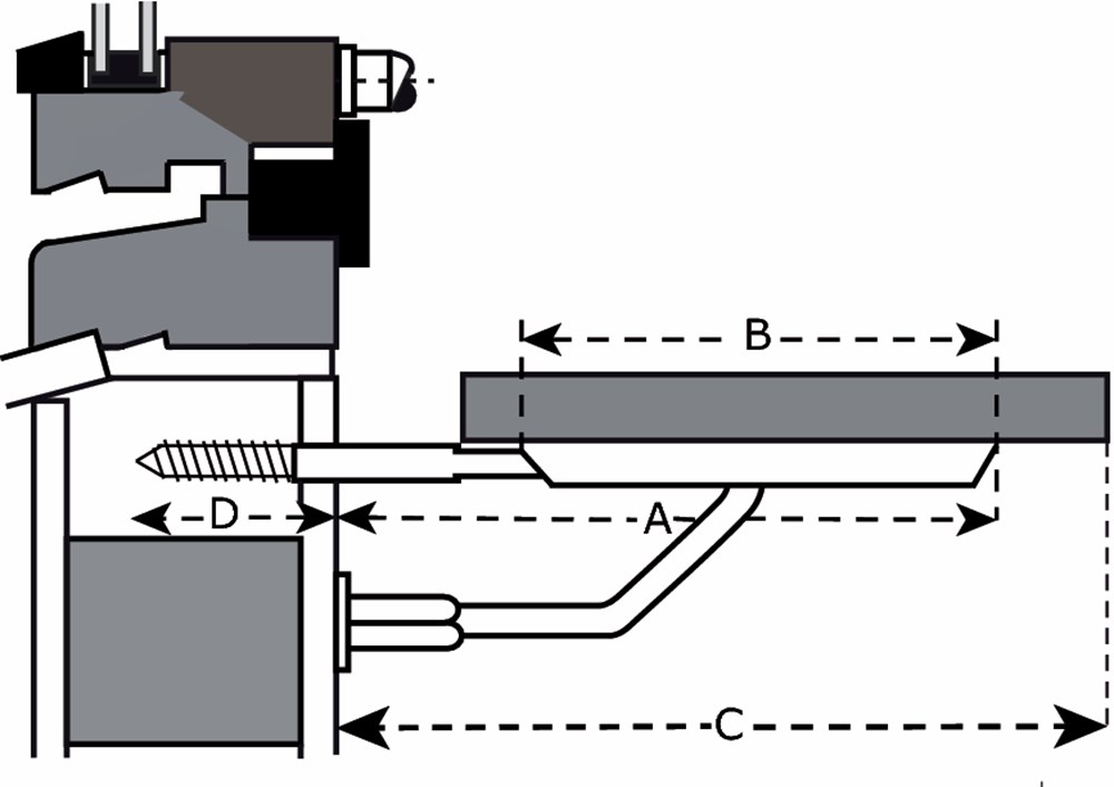
  • Breedte (a)

    140 mm

  • Finish

    wit geëpoxeerd

  • Maximale plankbreedte (c)

    200 mm

  • Draagvlak (b)

    100 mm

  • Inboormaat (d)

    63 mm

  • Volgorde_item

  • Volgorde_group

    2505

  • Groepsafbeelding

    05112006818.jpg

  • Labelcode

    ES 6814B

Varianten

  •  Voor 12.00 uur besteld, vandaag verzonden*
  • 2 échte winkels
  • Collega's met productkennis
  • Service na verkoop